- رگلاتور گاز فیلتر دار
- حداکثر فشار ورودی 0.5 تا 5 بار
- فشار خروجی تا 180 میلی بار (750 میلی بار سفارشی)
- اتصال 2 اینچ رزوه ای (DN50)
رگلاتور کنترل نسبت هوا گاز 1 اینچ ستاک Set282
- رگلاتور کنترل نسبت هوا گاز
- حداکثر فشار ورودی 500 میلی بار
- فشار خروجی تا 120 میلی بار
- اتصال 1 اینچ رزوه ای
نقد و بررسی تخصصی رگلاتور کنترل نسبت هوا گاز 1 اینچ ستاک مدل SET282
رگلاتور کنترل نسبت هوا و گاز مدل SET282 از برند Setaak، تجهیزی پیشرفته و دقیق است که برای حفظ نسبت مناسب بین فشار هوا و گاز در سیستمهای مشعل و تأسیسات گازسوز طراحی شده است. این محصول با توجه به نیازهای متغیر سیستمهای احتراقی، قادر است فشار خروجی یکنواختی ارائه دهد یا به عنوان یک کنترلکننده نسبت هوا به گاز (Air/Gas Ratio Controller) عمل کند، بهگونهای که با نوسانات فشار هوا یا گاز ورودی، نسبت تعیینشده همچنان ثابت باقی بماند.
“SET282” ضمن اینکه میتواند بهعنوان یک «رگلاتور فشار صفر» عمل کند و فشار downstream را ثابت نگه دارد، امکان کاربرد بهعنوان دستگاه کنترل نسبت هوا به گاز را نیز دارد. به این معنا که در سیستمهایی که نسبت فشار هوا به گاز از 1:1 تا 1:10 یا از 2:1 تا 10:1 متغیر است، این دستگاه با استفاده از حسگر هوا یا حسگر گاز و در صورت نیاز با شیر تناسبی، امکان اجرای دقیق را فراهم مینماید.
این کاربرد باعث میشود که در مشعلها و موتورخانههایی که عملکرد بهینه، ایمنی و کمینه کردن انتشار آلاینده اهمیت دارد، مدل SET282 گزینهای بسیار مناسب باشد. در واقع، وقتی نسبت هوا به گاز ثابت نگه داشته شود، احتراق کاملتر انجام شده، کارایی افزایش مییابد و هزینه نگهداری کاهش پیدا میکند.
به موجب این ویژگیها، رگلاتور SET282 توسط شرکت Setaak مطابق با استانداردهای داخلی و بینالمللی تولید شده و برای نصب در خطوط گاز یا هوا با فشار ورودی تا حدود ۵۰۰ میلیبار طراحی شده است.
انواع چیدمان رگلاتور کنترل نسبت هوا گاز در خط گاز

ویژگی های رگلاتور کنترل نسبت هوا گاز ستاک SET282
- سایز اتصال 1 اینچ دندهای (DN25)
- توانایی کار به صورت رگلاتور فشار صفر برای ثابت نگه داشتن فشار خروجی
- عملکرد بهعنوان کنترلکننده نسبت هوا به گاز (Air/Gas Ratio Control)
- مناسب برای نسبتهای مختلف هوا به گاز: 1:1، یا از 1:2 تا 1:10 (نیاز به شیر تناسبی در مسیر هوا) و یا از 2:1 تا 10:1 (نیاز به شیر تناسبی در مسیر گاز)
- فشار ورودی (P₁) تا حدود ۵۰۰ میلیبار
- قابل استفاده با گاز طبیعی، گاز مایع (LPG)، گاز شهری و هوا
- بازه دمای کاری از -۱۵ تا +۶۰ درجه سانتیگراد – مناسب برای شرایط محیطی متغیر
- اتصالات رزوهای یا فلنجی (بسته به مدل و سایز) با طراحی مناسب برای نصب در خطوط صنعتی
- مناسب برای سیستمهای مشعل و موتورخانه که عملکرد دقیق، دوام بالا و ایمنی محیطی اهمیت دارد
- ساخت ایران
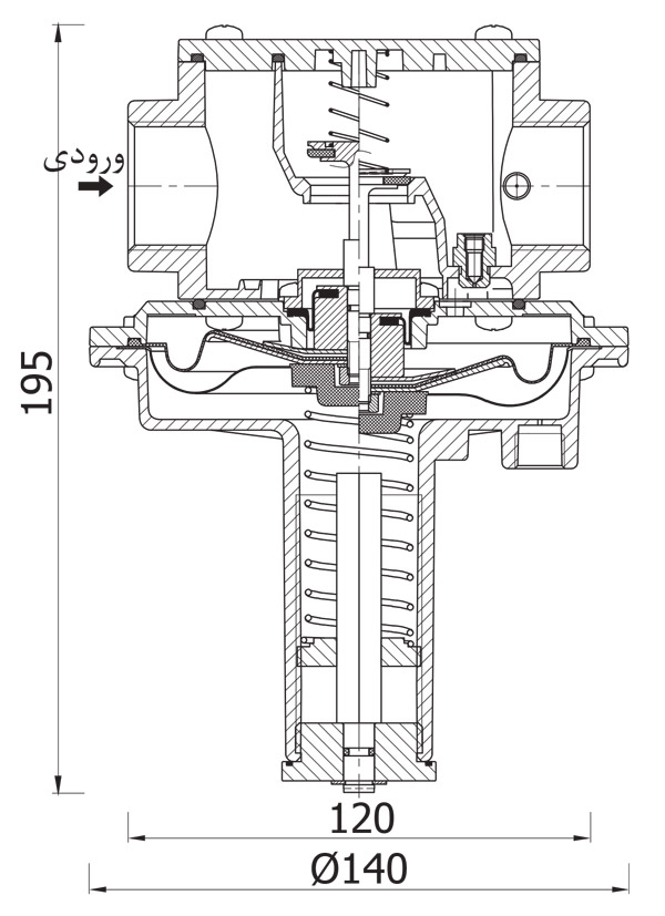
ابعاد و اندازه رگلاتور کنترل نسبت هوا گاز ستاک SET282

مشخصات
- مدل
- Setak-SET282/DN25-
- نوع
- رگلاتور کنترل نسبت هوا گاز
- استاندارد
- INSO 6027-1 / EN 88-1
- سیال
- هوا
گاز شهری
- محدوده دمای سیال
- 15- الی 60+ درجه سانتیگراد
- کاربری
- کنترل نسبت هوا به گاز و/یا تثبیت فشار خروجی در سیستمهای گازسوز
- دامنه فشار قابل تنظیم
- تا 120 میلی بار
- حداکثر فشار ورودی
- 0 الی 500 میلی بار
- ابعاد
- 140*140*195 میلیمتر (طول*عرض*ارتفاع)
- وزن
- 1.15 کیلوگرم
- سایز اتصال (اینچ)
- 1
- سایز اتصال (DN)
- 25
- نوع اتصال
- دنده ای
- کشور سازنده
- ایران
- گارانتی
- ستاک
- مدت زمان گارانتی
- 24 ماه
اطلاعات کلی
| مدل | Setak-SET282/DN25- |
| نوع | رگلاتور کنترل نسبت هوا گاز |
| استاندارد | INSO 6027-1 / EN 88-1 |
| کشور سازنده | ایران |
مشخصات فیزیکی
| ابعاد | 140*140*195 میلیمتر (طول*عرض*ارتفاع) |
| وزن | 1.15 کیلوگرم |
مشخصات فنی
| سیال | گاز شهریهوا |
| محدوده دمای سیال | 15- الی 60+ درجه سانتیگراد |
| کاربری | کنترل نسبت هوا به گاز و/یا تثبیت فشار خروجی در سیستمهای گازسوز |
| دامنه فشار قابل تنظیم | تا 120 میلی بار |
| حداکثر فشار ورودی | 0 الی 500 میلی بار |
| سایز اتصال (اینچ) | 1 |
| سایز اتصال (DN) | 25 |
| نوع اتصال | دنده ای |
خدمات پس از فروش
| گارانتی | ستاک |
| مدت زمان گارانتی | 24 ماه |
نظر بدهید