- رگلاتور گاز فیلتر دار
- حداکثر فشار ورودی 0.5 تا 5 بار
- فشار خروجی تا 180 میلی بار (750 میلی بار سفارشی)
- اتصال 2 اینچ رزوه ای (DN50)
رگلاتور گاز مایع مرحله اول ستاک SET291
- رگلاتور گاز مایع مرحله اول فشار بالا
- حداکثر فشار ورودی 17.5 بار (250 PSIG)
- ظرفیت 50 کیلوگرم در ساعت پروپان
- اتصال 1/2 اینچ NPT
نقد و بررسی تخصصی رگلاتور گاز مایع مرحله اول ستاک SET291
رگلاتور گاز مایع Setaak مدل SET291 یکی از محصولات تخصصی و باکیفیت ایرانی در حوزهی تجهیزات گازسوز است که برای تنظیم فشار مرحله اول گاز مایع (LPG) در سیستمهای صنعتی و خانگی طراحی شده است. این رگلاتور با عملکردی دقیق و پایدار، وظیفه دارد فشار بالای گاز درون مخزن یا سیلندر را به فشار مناسب برای ورود به مرحله دوم یا مصرفکننده کاهش دهد.
مدل SET291 از سری رگلاتورهای قدرتمند برند ستاک است که در سیستمهای دو مرحلهای گاز مایع، نقش «مرحله اول» (First Stage Regulator) را ایفا میکند. این محصول با بدنهای مقاوم، قطعات باکیفیت و طراحی ایمن تولید شده و در محیطهای صنعتی و نیمهصنعتی با دمای متغیر و شرایط کاری سخت، عملکردی مطمئن ارائه میدهد.
رگلاتور گاز مایع ستاک SET291 بهصورت ویژه برای مخازن و سیلندرهای گاز مایع طراحی شده و قادر است فشار ورودی بالا تا حدود ۱۷٫۵ بار را تحمل کند. در خروجی نیز با توجه به نیاز سیستم، فشار را در بازهای حدود ۷۰ تا ۳۵۰ میلیبار تنظیم مینماید. این ویژگی باعث شده که این مدل برای کاربردهایی مانند مشعلهای صنعتی فشار بالا، دیگهای بخار، و موتورخانههای بزرگ انتخابی ایدهآل باشد.
از دیگر مزایای این رگلاتور میتوان به وجود شیر اطمینان داخلی (Relief Valve) اشاره کرد که در مواقع افزایش فشار ناگهانی، از آسیب به سیستم جلوگیری میکند. همچنین طراحی ویژهی مسیر تنفس (Vent) در بخش خروجی موجب میشود که از یخزدگی و ورود گرد و غبار یا ذرات خارجی جلوگیری شود و رگلاتور در شرایط محیطی دشوار نیز کارکرد پایدار خود را حفظ کند.
در مجموع، اگر به دنبال رگلاتور گاز مایع با دوام، ایمن و دقیق هستید که برای پروژههای صنعتی و خانگی قابلاعتماد باشد، مدل SET291 ستاک یکی از بهترین گزینهها در بازار ایران است — محصولی که هم از نظر عملکرد و هم از نظر قیمت، با نمونههای خارجی رقابت میکند و از پشتیبانی فنی برند معتبر Setaak بهرهمند است.
| کد سفارش | دامنه تنظیم فشار خروجی (میلی بار) | قطر اوریفیس (اینچ) | اتصال خروجی | اتصال ورودی | ||
|---|---|---|---|---|---|---|
| SET291/1212/1 | 70-350 | 1/4 | 1/2F.NPT | 1/2F.NPT | ||
| SET291/1212/2* | 350-700 | 1/4 | 1/2F.NPT | 1/2F.NPT | ||
| SET291/P12/1 | 70-350 | 1/4 | 1/2F.NPT | F.POL** | ||
| SET291/P12/2* | 350-700 | 1/4 | 1/2F.NPT | F.POL** | ||
| SET291/P34/1 | 70-350 | 1/4 | 3/4F.NPT | F.POL** | ||
| SET291/P34/2* | 350-700 | 1/4 | 3/4F.NPT | F.POL** | ||
| * طبق سفارش مشتری تولید میشود. **معادل CGA510 و NGO-HL 14-885/0 است و طبق سفارش مشتری تولید میشود. |
||||||
ویژگی های رگلاتور گاز مایع مرحله اول ستاک SET291
- طراحیشده برای مرحله اول کاهش فشار در سیستمهای گاز مایع (LPG)
- فشار ورودی بالا تا ۱۷٫۵ بار – مناسب برای مخازن و سیلندرهای بزرگ
- فشار خروجی قابل تنظیم در بازهی ۷۰ تا ۳۵۰ میلیبار
- مجهز به شیر اطمینان داخلی جهت افزایش ایمنی سیستم
- دارای مسیر تنفس بزرگ برای جلوگیری از یخزدگی و ورود ذرات خارجی
- قابل استفاده در سیستمهای دو مرحلهای گاز مایع صنعتی و خانگی
- تولید با استانداردهای EN16129 و UL144
- بدنه مقاوم و طول عمر بالا، مناسب برای کار در شرایط سخت محیطی
- عملکرد پایدار و دقیق در سیستمهای گاز LPG و مشعلهای فشار بالا
- ساخت ایران
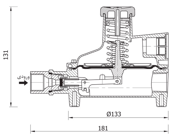
ابعاد و اندازه رگلاتور گاز مایع ستاک مدل SET291

مشخصات
- مدل
- SET291
- نوع
- رگلاتور گاز مایع
- سیال
- LPG
بوتان
پروپان
- محدوده دمای سیال
- 30- الی 60+ درجه سانتیگراد
- دامنه فشار قابل تنظیم
- 70 الی 700 میلی بار (طبق جدول)
- حداکثر فشار ورودی
- 17.5 بار
- ابعاد
- 181*133*131 میلیمتر (طول*عرض*ارتفاع)
- وزن
- 1.3 کیلوگرم
- سایز اتصال (اینچ)
- 1/2
- نوع اتصال
- NPT
- کشور سازنده
- ایران
- گارانتی
- ستاک
- مدت زمان گارانتی
- 24 ماه
اطلاعات کلی
| مدل | SET291 |
| نوع | رگلاتور گاز مایع |
| کشور سازنده | ایران |
مشخصات فیزیکی
| ابعاد | 181*133*131 میلیمتر (طول*عرض*ارتفاع) |
| وزن | 1.3 کیلوگرم |
مشخصات فنی
| سیال | پروپانبوتانLPG |
| محدوده دمای سیال | 30- الی 60+ درجه سانتیگراد |
| دامنه فشار قابل تنظیم | 70 الی 700 میلی بار (طبق جدول) |
| حداکثر فشار ورودی | 17.5 بار |
| سایز اتصال (اینچ) | 1/2 |
| نوع اتصال | NPT |
خدمات پس از فروش
| گارانتی | ستاک |
| مدت زمان گارانتی | 24 ماه |
نظر بدهید